家庭送养的时空演化及决策机制
|
马雪瑶(1996―),女,河南郑州,硕士研究生,主要研究方向为人口迁移与流动,(E-mail)michelle19y@163.com; |
收稿日期: 2022-06-19
修回日期: 2022-08-23
网络出版日期: 2022-10-07
基金资助
国家自然科学基金项目(41871144)
西北大学“仲英青年学者”支持计划(2016)
西北大学“人地关系与空间安全”特色优势团队建设项目(2019)
Space-Time Evolution and Decision-Making Mechanism of Sending Children out for Adoption
Received date: 2022-06-19
Revised date: 2022-08-23
Online published: 2022-10-07
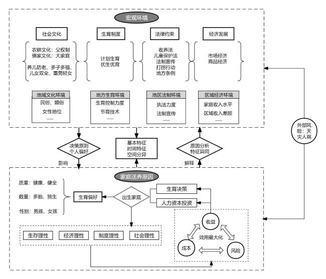
中国民间抱养行为由来已久,家庭送养的决策将完全改变儿童的生存和发展的轨迹。囿于送养的隐蔽性和复杂性,且相关研究匮乏,亟需系统性的剖析。文章基于公益平台寻亲数据,运用社会网络、空间分析、数理统计以及地理探测器的方法,探究1981—2010年家庭送养的时空分异特征,并进一步归纳送养决策的流程及原因机制。结果表明:1)送养主体为未满1周岁女童。2)送养人数在时间上呈现“先增后减”的倒“U”型分布,在空间上主要分布在中国东部、中部以及川渝地区。3)家庭送养原因以经济贫困为主,违反生育政策的影响次之。当家庭面临狭小的生育空间时,重男轻女的思想会被强化。4)地理探测器结果揭示,人口因素是影响送养空间分异最主要的原因,自然灾害、计划生育和经济因素在不同时期产生较大影响。5)基于理性选择理论提出了多尺度下的家庭送养的影响机制,认为家庭在作理性送养决策时,往往遵循生存理性、经济理性、制度理性以及社会理性的原则。
马雪瑶 , 李钢 , 周俊俊 , 石金龙 , 胡敏 , 王娟 , 陈诺 . 家庭送养的时空演化及决策机制[J]. 热带地理, 2022 , 42(9) : 1462 -1474 . DOI: 10.13284/j.cnki.rddl.003552
Sending children out for adoption has a long history. It completely changes the trajectory of children's survival and development. Trapped in the complexity, concealment, and dispersion of this behavior, the relevant definition is controversial and research data is difficult to obtain,the systemic and deep understanding are urgently needed. Based on public welfare website cases, this study uses social networks, spatial analysis, mathematical statistics and Geodetector to explore the spatiotemporal differentiation characteristics of informal adoption-out from 1981 to 2010 and further summarize the process and causal mechanism of informal adoption-out. The results are as follows: (1) Adopted children are mostly females under one-year of age. The young age of the group is because of the birth families' independent decision-making. Influenced by contemporary birth policy, economic conditions, and other factors, they make decisions as early as possible. During the family planning period, the number of children was strictly controlled. Influenced by the preference for sons, some families gave up girls to have the opportunity to have boys. Traditional fertility concepts have been highlighted in the narrow fertility space. (2) Over time, an inverted U-shaped distribution of "increasing first and decreasing later" is presented. From 1981 to 1983, adopted children were mainly affected by the family's economic situation. The violation of the birth policy became the dominant factor around 1990. Spatially, it is mainly distributed in the eastern, central Sichuan-Chongqing regions of China. (3) Economic poverty, birth-policy violations, son preference, and family accidents can explain about 90% of informal adopted-out cases. Children are most likely to be dispatched when the survival and development of families and children cannot be guaranteed. (4) Population factors are the most important factors affecting the spatial distribution. Natural disasters, birth control, and economic factors have a greater impact on each period in that order. The time interval interaction detection result shows that, when families are faced with poverty and change (for example, parent is ill or dies), the probability of children being sent out for adoption greatly increases. A parent's absence will not only worsen the family's economic situation, but also reduce the emotional willingness to raise children. (5) Based on the rational choice theory, this study posits the influencing mechanism of sending children out for adoption: Culture, the fertility system, laws, and the economy constitute the macro environment of informal adoption, which also thoroughly affects family decision-making. As a basic research unit, the collection of decision-making results has both similarities and regional characteristics in macro. In 2015, China enacted the "Two-child policy," which may have led to a large number of adoptions. The goal of adoption has gradually shifted from "maximizing the interests of the family" to "maximizing the rights and interests of children." Therefore, we should learn from historical experience, rapidly improve the laws related to adoption, clarify the legal boundaries of children sent out by birth families, and combat the occurrence of crimes such as child trafficking, so as to protect their legitimate rights and interests.
表1 家庭送养的原因构成(1981—2010年)Table 1 Proportion of causes of informal adopted-out cases from 1981 to 2010 |
| 送养原因 | 男性 | 女性 | 性别比 | 总量/% |
|---|---|---|---|---|
| 总计 | 221 | 697 | 31.71 | 100 |
| 经济贫困 | 78 | 293 | 26.62 | 40.41 |
| 违反生育政策 | 66 | 208 | 31.73 | 29.85 |
| 重男轻女 | 0 | 91 | 0 | 9.91 |
| 家庭变故 | 34 | 55 | 61.82 | 9.69 |
| 新生儿病残 | 16 | 23 | 69.57 | 4.25 |
| 未婚生子 | 16 | 11 | 145.45 | 2.94 |
| 其他 | 9 | 15 | 60 | 2.61 |
| 意外怀孕 | 2 | 1 | 200 | 0.33 |
表2 送养空间分异因素的指标选取Table 2 Space differentiation factors of informal adopted-out cases in China |
| 指标类型 | 影响因子 | 探测因子 | 单位 | 分级 | 因子解释 |
|---|---|---|---|---|---|
| 经济因子 | 国民生产总值 | X 1 | 亿元 | 5 | 衡量区域经济发展体量 |
| 恩格尔系数 | X 2 | % | 5 | 衡量区域居民生活富裕程度 | |
| 农村人均纯收入 | X 3 | 元 | 5 | 衡量区域农村居民收入的平均水平 | |
| 社会因子 | 户籍人口 | X 4 | 人 | 5 | 衡量区域人口数量 |
| 文盲率 | X 5 | % | 5 | 衡量区域人口受教育程度 | |
| 性别比 | X 6 | — | 5 | 衡量区域人口性别差异 | |
| 受灾面积 | X 7 | 万hm2 | 5 | 衡量区域灾害的影响程度 | |
| 家庭因子 | 活产子女数 | X 8 | 个 | 5 | 衡量区域妇女的生育情况 |
| 婚姻变故指数 | X 9 | % | 5 | 衡量区域家庭婚姻情况 |
表3 1981-2010年送养的影响因子探测Table 3 Impact factors of informal adopted-out cases in China from 1981 to 2010 |
| 指标 | 上升期(1981—1990年) | 下降期(1991—2000年) | 低发期(2001—2010年) | |||||
|---|---|---|---|---|---|---|---|---|
| VIF | q | VIF | q | VIF | q | |||
| X 1 | 1.202 | 0.199 | 1.421 | 0.064 | 6.185 | 0.420 | ||
| X 2 | 2.144 | 0.156 | 1.860 | 0.226 | 1.529 | 0.077 | ||
| X 3 | 4.248 | 0.204 | 5.593 | 0.171 | 4.774 | 0.172 | ||
| X 4 | 5.634 | 0.693 | 2.549 | 0.802 | 7.220 | 0.617 | ||
| X 5 | 3.838 | 0.264 | 3.254 | 0.195 | 1.764 | 0.084 | ||
| X 6 | 2.158 | 0.089 | 2.495 | 0.068 | 2.474 | 0.230 | ||
| X 7 | 5.057 | 0.600 | 3.293 | 0.157 | 2.659 | 0.299 | ||
| X 8 | 4.320 | 0.279 | 6.127 | 0.282 | 4.796 | 0.131 | ||
| X 9 | 2.139 | 0.278 | 2.118 | 0.041 | 1.953 | 0.069 | ||
表4 1981—2010年送养的交互因子探测Table 4 Interactions between factors of informal adopted-out cases from 1981 to 2010 |
| A∩B | 上升期 | 下降期 | 低发期 | A∩B | 上升期 | 下降期 | 低发期 | A∩B | 上升期 | 下降期 | 低发期 |
|---|---|---|---|---|---|---|---|---|---|---|---|
| X 1 ∩X 2 | NE(0.852) | NE(0.649) | NE(0.828) | X 2 ∩X 7 | BE(0.694) | NE(0.616) | NE(0.688) | X 4 ∩X 8 | NE(0.784) | BE(0.920) | NE(0.790) |
| X 1 ∩X 3 | NE(0.799) | NE(0.527) | NE(0.683) | X 2 ∩X 8 | BE(0.433) | NE(0.701) | NE(0.415) | X 4 ∩X 9 | NE(0.937) | NE(0.908) | NE(0.843) |
| X 1 ∩X 4 | BE(0.813) | BE(0.898) | BE(0.770) | X 2 ∩X 9 | NE(0.592) | NE(0.726) | NE(0.428) | X 5 ∩X 6 | NE(0.474) | NE(0.439) | NE(0.777) |
| X 1 ∩X 5 | NE(0.516) | NE(0.479) | NE(0.747) | X 3 ∩X 4 | BE(0.775) | BE(0.907) | NE(0.895) | X 5 ∩X 7 | BE(0.692) | NE(0.723) | BE(0.417) |
| X 1 ∩X 6 | NE(0.535) | NE(0.374) | BE(0.594) | X 3 ∩X 5 | BE(0.400) | BE(0.309) | NE(0.320) | X 5 ∩X 8 | BE(0.465) | NE(0.648) | NE(0.655) |
| X 1 ∩X 7 | BE(0.799) | NE(0.462) | BE(0.732) | X 3 ∩X 6 | NE(0.629) | NE(0.477) | NE(0.781) | X 5 ∩X 9 | BE(0.415) | NE(0.658) | NE(0.479) |
| X 1 ∩X 8 | NE(0.887) | NE(0.506) | NE(0.709) | X 3 ∩X 7 | BE(0.743) | NE(0.485) | NE(0.724) | X 6 ∩X 7 | NE(0.737) | NE(0.363) | NE(0.855) |
| X 1 ∩X 9 | BE(0.480) | NE(0.517) | NE(0.776) | X 3 ∩X 8 | BE(0.487) | NE(0.600) | NE(0.810) | X 6 ∩X 8 | NE(0.443) | NE(0.637) | NE(0.527) |
| X 2 ∩X 3 | NE(0.910) | NE(0.536) | NE(0.609) | X 3 ∩X 9 | NE(0.577) | NE(0.758) | NE(0.722) | X 6 ∩X 9 | NE(0.506) | NE(0.458) | NE(0.838) |
| X 2 ∩X 4 | NE(0.941) | BE(0.918) | NE(0.889) | X 4 ∩X 5 | BE(0.741) | BE(0.866) | NE(0.844) | X 7 ∩X 8 | BE(0.766) | NE(0.592) | NE(0.615) |
| X 2 ∩X 5 | NE(0.650) | NE(0.509) | NE(0.740) | X 4 ∩X 6 | NE(0.959) | NE(0.911) | BE(0.775) | X 7 ∩X 9 | BE(0.684) | NE(0.526) | NE(0.912) |
| X 2 ∩X 6 | NE(0.371) | NE(0.463) | NE(0.816) | X 4 ∩X 7 | BE(0.796) | BE(0.930) | BE(0.896) | X 8 ∩X 9 | NE(0.635) | NE(0.485) | NE(0.772) |
|

1 http://www.baobeihuijia.com
马雪瑶:数据处理、制图与文章撰写;
李 钢:文章撰写前期想法指导与后期修改润色;
周俊俊:协助梳理文章第四部分,并多次协助文章修改;
石金龙:协助修改文章;
胡 敏:协助修改文章;
王 娟:协助收集处理基础数据;
陈 诺:协助收集处理基础数据。
|
Coleman J S and Fararo T J. 1992. Rational Choice Theory. Nueva York: Sage.
|
|
陈洪玲,邹明. 1991. 1990年全国自然灾害概况及灾情分析. 灾害学,(4):67-70.
Chen Hongling and Zou Ming. 1991. Survey of Natural Disasters and Analysis of Disaster Situation of China in 1990. Journal of Catastrophology, (4): 67-70.
|
|
陈屹立. 2007. 收入差距、经济增长与中国的财产犯罪——1978—2005年的实证研究. 法制与社会发展,(5):143-153.
Chen Yili. 2007. Income Distribution Gap, Economic Growth and Property Crime Rates in China:1978-2005. Law and Social Development, (5): 143-153.
|
|
Das Gupta M, Zhenghua J, Bohua L, Zhenming X, Chung W and Hwa-Ok B. 2003. Why is Son Preference so Persistent in East and South Asia? A Cross-Country Study of China, India and the Republic of Korea. The Journal of Development Studies, 40(2): 153-187.
|
|
Ebenstein A. 2010. The "Missing Girls" of China and the Unintended Consequences of the One Child Policy. Journal of Human Resources, 45(1): 87-115.
|
|
国务院人口普查办公室,国家统计局人口和就业统计局. 1990. 中国1990年人口普查资料. 北京:中国统计出版社.
Population Census Office under State Council, Department of Population and Employment Statistics National Bureau Statistics. 1990. Tabulation on the 1990 Population Census of the People's Republic of China. Beijing: China Statistics Press.
|
|
国务院人口普查办公室,国家统计局人口和就业统计局. 2000. 中国2000年人口普查资料. 北京:中国统计出版社.
Population Census Office under State Council, Department of Population and Employment Statistics National Bureau Statistics. 2000. Tabulation on the 2000 Population Census of the People's Republic of China. Beijing: China Statistics Press.
|
|
国务院人口普查办公室,国家统计局人口和就业统计局. 2010. 中国2010年人口普查资料. 北京:中国统计出版社.
Population Census Office under State Council, Department of Population and Employment Statistics National Bureau Statistics. 2010. Tabulation on the 2010 Population Census of the People's Republic of China. Beijing: China Statistics Press.
|
|
Hansen A. 2008. Bonds of Affection Between Children and Their Foster-Parents in Early Icelandic Society. Emotions in the Household, 1200-1900. London: Palgrave Macmillan, 38-52.
|
|
侯佳伟,顾宝昌,张银锋. 2018. 子女偏好与出生性别比的动态关系:1979—2017. 中国社会科学,(10):86-101,206.
Hou Jiawei, Gu Baochang and Zhang Yinfeng. 2018. The Dynamic Relationship between Gender Preferences for Children and the Sex Ratio at Birth, 1979-2017. Social Sciences in China, (10): 86-101, 206.
|
|
Johansson S and Nygren O. 1991. The Missing Girls of China: A New Demographic Account. The Population and Development Review, 17(1):35-51.
|
|
Kane P and Choi C Y. 1999. China's One Child Family Policy. BMJ, 319(7215): 992-994.
|
|
Kreager P. 1980. Traditional Adoption Practices in Africa, Asia, Europe and Latin America. London: International Planned Parenthood Federation.
|
|
康青. 2013. 从抱养者视角看我国农村地区的非法收养现象. 北京:中国青年政治学院.
Kang Qing. 2013. From the Perspective of the Adopters, the Phenomenon of Illegal Adoption in Rural Areas of China. Beijing: China Youth University of Political Studies.
|
|
雷敏,蒙永辉. 2017. 民间收养的法律困境与应对策略. 南海法学,1(2):47-55.
Lei Min and Meng Yonghui. 2017. Legal Dilemma and Coping Strategies of Folk Adoption. The South China Sea Law Journal, 1(2): 47-55.
|
|
李钢,薛淑艳,马雪瑶,周俊俊,王皎贝,徐婷婷. 2020. 中国儿童非正常迁移的时空分异及综合机制——拐卖与抱养对比视角. 人口研究,44(3):102-117.
Li Gang, Xue Shuyan, Ma Xueyao, Zhou Junjun, Wang Jiaobei and Xu Tingting. 2020. Spatio-Temporal Differentiation and Comprehensive Mechanism of Irregular Migration of Children in China: Comparison between Child Trafficking and Informal Adoption. Population Research, 44(3): 102-117.
|
|
李宏玉. 2007. 我国收养法律制度论. 济南:山东大学.
Li Hongyu. 2007. The Theory of Adoption Legal System in China. Jinan: Shandong University.
|
|
李卷林. 2000. 关于北京市海淀区抱养孩子调查的实证分析. 南方人口,(2):23-28.
Li Juanlin. 2000. An Empirical Analysis of the Investigation of Holding Children in Haidian District, Beijing. South China Population, 15(2): 23-28.
|
|
刘大千,宋伟,修春亮. 2014. 长春市“两抢两盗”犯罪的空间分析. 地理科学,34(11):1344-1352.
Liu Daqian, Song Wei and Xiu Chunliang. 2014. Spatial Analysis on Robbery, Forcible Seizure, Vehicle Theft and Burglary in Changchun. Scientia Geographica Sinica, 34(11): 1344-1352.
|
|
刘靖,毛学峰,辛贤. 2006. 中国农产品出口地理结构的衡量与分析. 世界经济,(1):40-49,96.
Liu Jing, Mao Xuefeng and Xin Xian. 2006. Measurement and Analysis of the Geographical Structure of China's Agricultural Products Export. The Journal of World Economy, (1): 40-49, 96.
|
|
刘然. 2014. 婴儿送养与拐卖儿童的法律界定. 法制与社会,(10):253,262.
Liu Ran. 2014. Legal Definition of Infant Feeding and Trafficking in Children. Legal System and Society, (10): 253, 262.
|
|
卢珊,王小春. 2014. 中国儿童收养问题的思考. 社会福利(理论版),(8):36-38.
Lu Shan and Wang Xiaochun. 2014. Reflections on the Adoption of Children in China. Social Welfare, (8): 36-38.
|
|
鲁奇,张超阳,段娟. 2007. 1965年以来我国对外贸易及其地域格局的演变态势. 地理研究,26(6):1247-1254.
Lu Qi, Zhang Chaoyang and Duan Juan. 2007. The Evolution of China's Foreign Trade and Its Regional Pattern Since 1965. Geographical Research, 26(6): 1247-1254.
|
|
吕晨,蓝修婷,孙威. 2017. 地理探测器方法下北京市人口空间格局变化与自然因素的关系研究. 自然资源学报,32(8):1385-1397.
Lyu Chen, Lan Xiuting and Sun Wei. 2017. A Study on the Relationship between Natural Factors and Population Distribution in Beijing Using Geographical Detector. Journal of Natural Resources, 32(8): 1385-1397.
|
|
Ma X, Li G, Zhou J, Gao X, Nie Q, Xue S and Jin A. 2020. Family-to-Family Child Migration Network of Informal Adoption in China. Humanities and Social Sciences Communications, 7(1): 1-11.
|
|
丘海雄,张应祥. 1998. 理性选择理论述评. 中山大学学报(社会科学版),(1):3-5.
Qiu Haixiong and Zhang Yingxiang. 1998. A Review of Rational Choice Theory. Journal of Sun Yat-sen University (Social Science Edition), (1): 3-5.
|
|
史莎娜,谢炳庚,胡宝清,汤传勇,闫妍,李晓青. 2019. 桂西北喀斯特山区人口分布特征及其与自然因素的关系. 地理科学,39(9):1484-1495.
Shi Shana, Xie Binggeng, Hu Baoqing, Tang Chuanyong, Yan Yan and Li Xiaoqing. 2019. The Relationship Between Population Distribution Characteristics and Natural Factors in the Karst Mountainous Area of the Northwestern Guangxi, China. Scientia Geographica Sinica, 39(9): 1484-1495.
|
|
斯坦·约翰逊. 1995. 论现代中国的收养. 人口研究,19(6):20-31.
Stan Johnson. 1995. On the Adoption of Modern China. Population Research, 19(6): 20-31.
|
|
Treide D. 2004. Adoption in Micronesia. Cross-Cultural Approaches to Adoption. London: Routledge, 127-142.
|
|
Wang Z, Wei L, Peng S, Deng L and Niu B. 2018. Child-Trafficking Networks of Illegal Adoption in China. Nature Sustainability, 1(5): 254-260.
|
|
王金玲. 2014. 中国拐卖拐骗人口问题研究. 浙江:社会科学文献出版社,31-32.
Wang Jinling. 2014. Study on Human Trafficking in China. Zhejiang: Social Science Academic Press, 31-32.
|
|
王劲峰,徐成东. 2017. 地理探测器:原理与展望. 地理学报,72(1):116-134.
Wang Jinfeng and Xu Chengdong. 2017. Geodetector: Principle and Prospective. Acta Geographica Sinica, 72(1): 116-134.
|
|
王良顺. 2014. 关于出卖亲生子女的行为性质的理性思考. 政法论丛,(4):113-120.
Wang Liangshun. 2014. On the Determination of Offense of Selling Offspring. Journal of Political Science and Law, (4): 113-120.
|
|
王牧. 2005. 新犯罪学. 北京:高等教育出版社,161-200.
Wang Mu. 2005. New Criminology. Beijing: Higher Education Press, 161-200.
|
|
吴锟. 2014. 收养弃婴的法律规制探析. 海峡法学,16(1):82-86.
Wu Kun. 2014. Analysis on the Legal Regulation of Adopting Abandoned Infants. Cross-Strait Legal Science, 16(1): 82-86.
|
|
解振明. 1998. 人们为什么重男轻女?!——来自苏南皖北农村的报告. 人口与经济,(4):3-5.
Xie Zhenming. 1998. Why Do People Prefer Boys to Girls? A Report from Rural Areas in Southern Jiangsu and Northern Anhui. Population & Economics, (4): 3-5.
|
|
修文群. 2006. 基于GIS的网络犯罪空间管理系统设计. 地理研究,25(5):939-948,952. [Xiu Wenqun. 2006. The Design of Cybercrime Spatial Management System Based on GIS. Geographical Research, 25(5): 939-948, 952.]
|
|
薛淑艳,李钢,马雪瑶,刘玲,杨兰. 2020. 贵州省拐卖儿童犯罪的多维时空格局及影响因素研究. 地理研究,39(7):1691-1706.
Xue Shuyan, Li Gang, Ma Xueyao, Liu Ling and Yang Lan. 2020. The Multidimensional Spatio-Temporal Pattern and Influencing Factors of Child Trafficking in Guizhou Province, China. Geographical Research, 39(7): 1691-1706.
|
|
杨彦. 2004. 关于“中国农村抱养子女”的调查报告. 人口与经济,(1):59-64.
Yang Yan. 2004. Investigation Report on "Cultivating Children in Rural China". Population & Economics. (1): 59-64.
|
|
原新,石海龙. 2005. 中国出生性别比偏高与计划生育政策. 人口研究,(3):11-17,96.
Yuan Xin and Shi Hailong. 2005. Abnormal High Sex Ratios at Birth and the Family Planning Policy in China. Population Research, (3): 11-17, 96.
|
|
翟振武,刘爽,陈卫,段成荣. 2000. 稳定低生育水平:概念、理论与战略 中国人民大学人口研究所“稳定低生育水平研究”课题组报告之一. 人口研究,(3):1-17. [Zhai Zhenwu, Liu Shuang, Chen Wei and Duan Chengrong. 2000. Stabilizing China's Low Fertility: Concepts, Theories and Strategies. Population Research, (3): 1-17.]
|
|
张惠芳,雷姣姣,王陈平. 2010. 灾后孤儿收养相关法律制度研究. 法制与社会,(10):50-51.
Zhang Huifang, Lei Jiaojiao and Wang Chenping. 2010. Research on Legal System of Adoption of Orphans After Disasters. Legal System and Society, (10): 50-51.
|
|
漳州师范学院课题组. 2006. 云南/广西籍非法/非正常收养儿童调研报告. 浙江学刊,(1):213-218.
Research Group of Minnan Normal University. 2006. Investigation Report on Illegal/Abnormal Adopted Children in Yunnan/Guangxi. Zhejiang Academic Journal, (1): 213-218.
|
|
赵川芳. 2014. 试论儿童收养中存在的问题及对策. 中国青年政治学院学报,33(5):23-28.
Zhao Chuanfang. 2014. On the Problems and Countermeasures in Children's Adoption. Journal of Chinese Youth Social Science, 33(5): 23-28.
|
|
周福林. 2005. 我国城乡居民分年龄、性别和受教育程度的生育意愿研究. 西北人口,(4):12-14.
Zhou Fulin. 2005. Study on Chinese People's Fertility Desires by Age and Gender. Northwest Population Journal, (4): 12-14.
|
|
周长城,韩秀记. 2010. 当代中国经验下的家庭制度主义分析——兼论贝克尔“家庭论”. 黑龙江社会科学,(4):119-124.
Zhou Changcheng and Han Xiuji. 2010. An Analysis of Family Institutionalism Under Contemporary Chinese Experience: Also on Becker's "Family Theory". Social Sciences in Heilongjiang, (4): 119-124.
|
|
中华人民共和国国家统计局. 1990,2000,2010. 中国统计年鉴. 北京:中国统计出版社. [National Bureau of Statistics of China. 1990, 2000, 2010. China Statistical Yearbook. Beijing: China Statistics Press.]
|
/
| 〈 |
|
〉 |